捻込式ゲージバルブ
            スリーエム工業株式会社はストレーナー・サイトグラス・フートバルブ・地上型フートバルブ・ゲージバルブ・テンポラリー等ステンレスバルブ製造メーカーです。
こちらでは、スリーエム工業株式会社の捻込式ゲージバルブを紹介いたします。
          こちらでは、スリーエム工業株式会社の捻込式ゲージバルブを紹介いたします。
- 
                
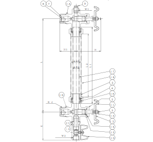
                捻込ゲージバルブ- 
                      GVS-P-R-14、GVS-BP-R-14、GVS-BB-R-14   - GVS-P-R-14
- GVS-P-R-14
- GVS-BP-R-14
- GVS-BB-R-14
 - 
                                        - 
                                          標準仕様
- 
                                          接続 ねじ込み R 最高使用圧力 0.5MPa 最高使用温度 常温 本体材質 SCS14 Oリング EPDM 
 - 
                                        寸法表
- 
                                        サイズ H H1 d1 d2 L1 L2 図面データ CADデータ 10(3/8) 59 38 12 22 L-47 L-80 ↓PDF -- 15(1/2) 59 38 12 22 L-47 L-80 ↓PDF -- 20(3/4) 74 47 19 28 L-48 L-87 ↓PDF -- 
 特徴- ご使用になる流体、温度、圧力などの条件によりガラス製のゲージ管をご使用頂けないことがあります。
- 耐食性の高いSCS14 / SUS316を使用しています。
- パッキン材質は変更できます。
- ゲージ管、保護管は別売りです。詳しくはコチラをご覧ください。
 
- 
                                          
 - 
                                    - 
                                      標準仕様
- 
                                      接続 ねじ込み R 最高使用圧力 0.5MPa 最高使用温度 常温 本体材質 SCS14 Oリング EPDM 
 - 
                                    寸法表
- 
                                    サイズ H H1 d1 d2 L1 L2 図面データ CADデータ 10(3/8) 59 38 12 22 L-47 L-80 ↓PDF -- 15(1/2) 59 38 12 22 L-47 L-80 ↓PDF -- 20(3/4) 74 47 19 28 L-48 L-87 ↓PDF -- 
 特徴- ご使用になる流体、温度、圧力などの条件によりガラス製のゲージ管をご使用頂けないことがあります。
- 耐食性の高いSCS14 / SUS316を使用しています。
- パッキン材質は変更できます。
- ゲージ管、保護管は別売りです。詳しくはコチラをご覧ください。
 
- 
                                      
 - 
                                - 
                                  標準仕様
- 
                                  接続 ねじ込み R 最高使用圧力 0.5MPa 最高使用温度 常温 本体材質 SCS14 Oリング EPDM 
 - 
                                寸法表
- 
                                サイズ H H1 d1 d2 L1 L2 図面データ CADデータ 10(3/8) 59 38 12 22 L-47 L-80 ↓PDF -- 15(1/2) 59 38 12 22 L-47 L-80 ↓PDF -- 20(3/4) 74 47 19 28 L-48 L-87 ↓PDF -- 
 特徴- ご使用になる流体、温度、圧力などの条件によりガラス製のゲージ管をご使用頂けないことがあります。
- 耐食性の高いSCS14 / SUS316を使用しています。
- パッキン材質は変更できます。
- ゲージ管、保護管は別売りです。詳しくはコチラをご覧ください。
 
- 
                                  
 
- 
                    ボールチャッキ付き    - GVS-BP-R-14
- GVS-BP-R-14
- GVS-BP-R-14
- GVS-BB-R-14
 - 
                                      - 
                                        標準仕様
- 
                                        接続 ネジ込みR 最高使用圧力 0.5MPa 最高使用温度 常温 本体材質 SCS14 (逆止用)ボール材質 PTFE(フッ素樹脂) パッキン・Oリング材質 EPDM 
 - 
                                      寸法表
- 
                                      サイズ H H1 D1 D2 E W1 L ※1 L1 ※2 L2 ※2 10 3/8 59 38 12 22 36 R 1/4 — L-47 L-80 15 1/2 59 38 12 22 36 R 1/4 — L-47 L-80 20 3/4 74 47 19 28 38 R 1/4 — L-48 L-87 
 - ゲージガラス管、保護管(SUS、SS、BS)はオプションです。
- ※1 L寸法はご指定寸法とさせていただきます。
- ※2 L1,L2寸法はご指定ありましたL寸法から表の数値を引いた寸法とさせていただきます。
- GAUGE TUBE PROTECTORの材質はご指定通りとさせていただきます。
 
- 
                                        
 
- 
                          ドレンボール弁付き    - GVS-BB-R-14
- GVS-BB-R-14
 - 
                                        - 
                                          標準仕様
- 
                                          接続 ネジ込みR 最高使用圧力 0.5MPa 最高使用温度 常温 本体材質 SCS14 (逆止用)ボール材質 PTFE(フッ素樹脂) パッキン・Oリング材質 EPDM 
 - 
                                        寸法表
- 
                                        サイズ H H1 D1 D2 E W1 W2 L ※1 L1 ※2 L2 ※2 10 3/8 59 38 12 22 78 R1/4 Rc1/4 — L-47 L-80 15 1/2 59 38 12 22 78 R1/4 Rc1/4 — L-47 L-80 20 3/4 74 47 19 28 81 R1/4 Rc3/8 — L-48 L-87 
 - ゲージガラス管、保護管(SUS、SS、BS)はオプションです。
- ※1 L寸法はご指定寸法とさせていただきます。
- ※2 L1,L2寸法はご指定ありましたL寸法から表の数値を引いた寸法とさせていただきます。
- GAUGE TUBE PROTECTORの材質はご指定通りとさせていただきます。
 
- 
                                          
 
 
- 
                      
 
            






